複合型熱分析
複合型熱分析としては、発生ガス分析(EGA)として、TGと発生ガスの分析を行うための装置を接続したものが一般的に良く用いられる。 発生ガスの分析手段として、FT-IR(フーリエ変換赤外分光分析)、MS(質量分析)、GC/MS(ガスクロマト/質量分析)の3種類が使われる。
1. TG複合機としての比較
| FT-IR | MS | GC/MS | ||
|---|---|---|---|---|
| 手法 | TGから発生するガスをFT-IRで分析 | TGから発生するガスをMSで分析 | TGから発生するガスをトラップし、GC/MSで分析 | |
| リアルタイム測定 | 可 | 可 | 不可 | |
| 検知感度 | 普通 | 高い | 非常に高い(濃縮・分離) | |
| 測定対象 | 発生ガスの全て | 一部 (スプリットされたガス) |
一部 (トラップされたガス) |
|
| 発生ガスの同定 | 分子量の小さい混合ガス | 可 (IR不活性なガスは不可) |
可 | やや難 (ガスの捕集材を選択する必要あり) |
| 分子量の大きい混合ガス | 可 (ピークからある程度の同定可) |
難 (イオン化による2次分解で複雑化) |
可 (分離検知に最適、同定確度高い) |
|
| キャリアガス | 制約なし | Heが適切 | 制約なし | |
| インターフェイス | ガスラインとガスセル | イオン化室の真空を保ち導入できるガスライン | ガス捕集機構とGC/MSへの導入機構 | |
| 総合評価 | 簡便に接続でき熱分解時の全発生ガスのスクリーニングに適している。 | 発生ガスが判明している場合の特定発生ガスのトレースに最適。 | 熱分解時の混合発生ガスの同定に最適。加熱時の微量発生ガス(添加剤等)の同定に適している。 | |
上の表は発生ガスの分析手段による、TG複合機としての比較を示す。 TG/FT-IR、TG-MSは発生ガス分析としてのリアルタイム測定が可能であるが、TG/GC/MSでは発生ガスをトラップするため不可能である。TG/FT-IRは測定の制約が少なく比較的簡便に行える、また発生ガスが混合ガスであっても官能基等で大まかな区別ができる特長がある。しかしMS、GC/MSに比較すると発生ガスの検出感度は一般的に低い。
TG-MSは大気圧のTGと高真空のMSを接続するインターフェースに工夫が必要である。キャリヤーガスとしてはHeが適切であるが、MSの排気量によっては空気中の測定も可能である。発生ガスの検出感度は比較的高いが、発生ガスが複雑な混合物の場合解析は困難である。
TG/GC/MSは発生ガスをトラップしGC/MSで分離検出するため混合ガスでも分離検出でき感度も高い。但し発生ガスのトラップ方法、GC/MSへの導入方法により検出ガス感度が依存する。情報量が多い分、解析にも比較的時間を要する。
2. TG複合機の利用分野
| 各種材料(ポリマー材料等)の加熱時の微量発生ガスの分析 | 各種材料の熱分解時の発生ガスの分析 | |
| 環境関連分野 |
|
|
| 材料開発部門 |
|
|
| (クレーム対策) 品質管理部門 |
|
上の表は、TG複合機の利用分野をまとめたものである。 TG複合機による測定対象としては、材料の熱分解に伴う発生ガスの分析と材料加熱時の微量の発生ガスの分析に大きく分けられる。材料加熱時の微量の発生ガスの分析としては、環境関連分野では製品や使用部品から発生するにおい、有毒ガスの分析、部品成型時のにおいや有毒ガスの分析に応用することができる。材料開発部門では微量添加剤、未反応物質分析、他社製品の組成分析等に応用可能である。また品質管理部門ではロット間の添加不純物の有無、受け入れ出荷時の可否判定等に応用可能である。 熱分解ガスの分析としては、燃焼時の発生有毒ガスの分析や熱分解機構、構造の解析等に応用可能である。
3. 装置構成
TG/FT-IRの構成例
上図はTG/FT-IRの装置構成例を示す。 接続のインターフェースとして、FT-IRの光路中に保温したガスセルを設置し、このガスセルにTGからの発生ガスを加熱制御したトランスファーラインを通して、送り込む。発生ガスの移送はTGに導入するキャリヤーガスを用いる。 TG測定と同時にFT-IRはガスセル中に導入されたガス成分のIRスペクトルを連続して測定する。(1)(2) トランスファーライン、ガスセルの温度は途中で凝縮せず、且つ熱分解しない温度を設定する。一般的には200℃~300℃が用いられる。
(1)R. Kinoshita,Y.Teramoto,T.Nakano and H.Yoshida, J.Thermal Anal.,38, 1891(1992)
(2)木下良一、寺本芳彦、吉田博久、 熱測定,19(2), 64(1992)
TG/MSの構成例
上図はTG/MSの装置構成例を示す。 MSは高真空で測定するのに対して、TGからの発生ガスは大気圧で発生する。これを接続するためのインターフェースとして上図の例では、適切な長さと内径を持つキャピラリーチューブを用いる。キャピラリーチューブの一方はMSのイオン化室に接続し、他方をTG内の試料近傍に設置する。発生ガスはMSの真空排気によりキャピラリーチューブを通して直接MSのイオン化室に導入される。(1)キャピラリーチューブは発生ガスの凝縮を防ぐ目的で、保温されたトランスファーチューブ内を通す。
(1)R.Kinoshita et al.,J.Mass Spectrom. Soc. Jpn.,46(4), 365(1998)
TG/GC/MSの構成例
上図はTG/GC/MSの装置構成例を示す。 TG/GC/MSではTGからの発生ガスを一度トラップし、その後GC/MSに導入して分析を行う。 例はガスのトラップ方式として、大気分析等で良く用いられるガス捕集管を用いた構成を示す。ガス捕集後は捕集管を専用の導入システムに入れGC/MSで分析を行う。 発生ガスの捕集は不活性なキャピラリーチューブを通してガスを吸引する方式で発生ガスの吸着や変質を防ぐと共にGC/MSでの分析に最適量のガスを捕集できる。(1) またこの例では、複数の温度域で発生するガスを分別して捕集ができるように4本の捕集管を設置している。 その他トラップの方式としては、簡易的にガス経路の途中で冷却しトラップする方法もある。
(1)日本特許 2596882号
TG/FT-IRの測定例
上図はTG/FT-IRの測定例を示す。 試料は家庭用電気製品等によく用いられるABS樹脂(アクリロニトリル-ブタジエン-スチレン樹脂)で、窒素中での熱分解を測定している。上はTG曲線で、400°C付近から熱分解が始まり、500°C付近で全て分解する事がわかる。
下は熱分解中の各温度における発生ガスのIRスペクトルを示す。2800cm-1~3000cm-1の吸収ピークは直鎖状のC-Hlによるもの、3000cm-1以上の吸収ピークは芳香族のC-Hによるものを示す。分解の前半460°C付近までは芳香族のC-Hの吸収が見られ、以降分解の後半では直鎖状のC-Hの吸収のみ見られる。芳香族のC-Hの吸収はスチレンに由来するものと考えられ、直鎖状のC-Hの吸収はブタジエンに由来するものと考えられる。熱分解前半にスチレン部分が分解し、後半ブタジエン部分の分解が主におこることを示唆している。(1)
ABS樹脂はブタジエンラテックスにAS樹脂をグラフト重合させたものが主流であり、構造としてはAS樹脂中にブタジエンラテックスが分散しているためこのような分解挙動が見られたものと考えられる。
(1)株式会社日立ハイテクアナリシス アプリケーションブリーフ TA-66,(1995)
TG/MSの測定例
TG/MSの測定例を示す。
試料は6ナイロンで、加熱時の微量発生ガスを測定した例である。 測定は窒素中にて、ナイロンの融解が終了する280°Cまで昇温を2回おこなっている。 左のTG/DTAデータで1回目の昇温にみられる100°C付近の重量減少は、MSにより質量18の水の発生と同定された。またDTAデータにみられる融解ピーク(220°C)に対応する重量減少は、MSスペクトルのライブラリサーチの結果カプロラクタムの発生と同定された。(1)一方2回目の昇温では融解終了の250℃まで重量減少もガス発生も見られない。 従って、1回目の昇温で検出された水はナイロン中に吸湿されていたもの、またカプロラクタムはナイロン中の残留モノマーが融解に伴い放出されたものと考えられる。
一方融解後の挙動では1回目、2回目ともカプロラクタムのガス発生の立ち上がりが見られることより、ナイロンの一部分解が融解直後より始まるものと考えられる。
(1)R.Kinoshita et al.,J.Mass Spectrom. Soc. Jpn.,46(4), 365(1998)
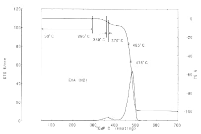
TG/GC/MSの測定例 1
TG/GC/MSの測定例を示す。
上図はTG/DTAデータで、市販のエチレン酢酸ビニル共重合樹脂(EVA)を窒素中で測定した結果である。TGでは300°C付近と400°C以降の2段の重量減少が見られる。GC/MSで分析するため、295℃までの分解開始前、360°C~370°Cの1段目の分解、465°C~475°Cの2段目の分解の3カ所にてガス捕集を行った。
TG/GC/MSの測定例 2
上図は捕集した発生ガスをGC/MSで分析した結果で、それぞれの捕集ガスによるガスクロマトグラフを示す。
一番上は分解開始前の発生ガスのガスクロマトグラフである。 分解開始前においても酸化防止剤のBHT、可塑剤のTBPやフタル酸エステル及び微量の酢酸が発生ガスとして検出されている。(1)2番目、3番目のガスクロマトグラフは、それぞれ1段目、2段目の分解に対応する発生ガスのガスクロマトグラフである。 1段目の分解では主に酢酸、2段目の分解では様々な炭素数の炭化水素が検出されている。1段目では酢酸ビニルのアセトキシルが切断され酢酸が発生し、2段目では脱酢酸後の骨格残さが熱分解し様々な炭素数の炭化水素が発生するものと考えられる。
(1)木下良一、武井義之 他、第29回熱測定討論会要旨集、32 (1993)
PEからの発生ガス分析
TG/DTAにMSやGC/MSを接続した装置を用いると様々な材料からの加熱時の発生ガスや熱分解挙動を見ることができる。
上図は市販の包装用ポリエチレンフィルムをTG/DTAで測定した結果を示す。DTA曲線には131°Cに融解によるピークが見られるが、TG曲線には200°C付近まで重量変化は見られない。200℃以上では酸化による重量増加、引き続き熱分解による重量減少が見られる。そこで融解前の温度域50°C~125°Cまでと、融解後酸化開始前までの温度域130°C~200°Cの領域で発生するガスを捕集剤で捕集し、GC/MSで分析した結果を次に示す。
上図はそれぞれ50°C~125°Cの温度域と130°C~200°Cの温度域で発生したガスを捕集したものをGC/MSで分析した結果を示す。(1)どちらも発生ガスの主成分は直鎖の炭化水素でしかも炭素数は偶数のものしか存在しない。このことより、発生ガスは高分子にならなかった残留のオリゴマーがこの温度域で発生しているものと推定された。 融解前と、融解後の発生ガスの違いをみると、融解後の方が炭素数の多い炭化水素が見られ、沸点の低いものから順に発生しているものと考えられる。また融解前の発生ガスには酸化防止剤であるBHT(2,6ビス1,1ジエチルエーテル4-メチルフェノール)が検出されているが融解後には検出されていない。BHTはフィルムの添加剤として入っていたものと推定され、125°Cまでに発生が終了することがわかる。
(1)市村裕、木下良一、武井義之、熱測定,22(3),193(1995)
食品ラッピング材の発生ガス
上図は塩化ビニリデン系の食品用ラッピングフィルムの発生ガスを測定したTG/DTAのデータを示す。 DTA曲線には大きな変化は見られず、TG曲線も200°C付近まではほとんど重量減少も見られない。250°C付近からは分解による重量減少が見られる。 そこで200°Cまでの温度領域と分解中の300°C~310°Cの温度域での発生ガスをガス捕集し、GC/MSで分析した。
上図は分解中の300°C~310°Cの発生ガスをGC/MSで分析した結果である。 発生ガスはクロルベンゼン系のガスで、最近問題視されているダイオキシンの生成源となりうることがわかる。
